SISTEMA Y MÉTODO DE IDENTIFICACIÓN Y COBRO AUTOMÁTICOS DE CONSUMICIONES

  1. Inventors:
  2. MIGUEL ANGEL MOLINA CABELLO
  3. ENRIQUE DOMINGUEZ MERINO
  4. EZEQUIEL LOPEZ RUBIO
  5. RAFAEL MARCOS LUQUE BAENA
  6. ESTEBAN JOSE PALOMO FERRER
  1. Universidad de Málaga
    info
    Universidad de Málaga

    Málaga, España

    Geographic location of the organization Universidad de Málaga
ES
Publicación principal:

ES2900603A1 (17-03-2022)

Solicitudes:

P202030942 (17-09-2020)

SISTEMA Y MÉTODO DE IDENTIFICACIÓN Y COBRO AUTOMÁTICOS DE
CONSUMICIONES

Abstract

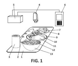
Se proporciona un sistema para identificación y cobro automáticos de consumiciones, que comprende: una cámara (4) para la captura de una imagen de una bandeja (1) que contiene al menos un producto; medios para procesar información (5) configurados para identificar, a partir de la imagen captada, el al menos un producto contenido en ella y para calcular el precio del al menos un producto; y un dispositivo de cobro (6) conectado a los medios para procesar información (5). Estos medios (5) comprenden medios de detección de objetos (512) basados en una red neuronal convolucional profunda configurada para, a partir de la imagen captada, determinar al menos una región de la imagen en la que hay un producto y clasificar el producto identificado en la al menos una región de acuerdo con una clase previamente establecida.

INVENES: P202030942