APARATO DUPLEXOR ÓPTICO PARA LA TRANSMISIÓN Y RECEPCIÓN SIMULTÁNEA DE HACES LÁSER

  1. Inventors:
  2. FRANCISCO JAVIER RIOS GOMEZ
  3. JORGE ROMERO SANCHEZ
  4. RAQUEL NATIVIDAD FERNANDEZ RAMOS
  5. JOSE FRANCISCO MARTIN CANALES
  6. FRANCISCO JAVIER MARIN MARTIN
  1. Universidad de Málaga
    info
    Universidad de Málaga

    Málaga, España

    Geographic location of the organization Universidad de Málaga
WO
Otras Publicaciones:

WO2012089862A1 (05-07-2012)

Solicitudes:

PCT/ES2011/000372 (23-12-2011)

APARATO DUPLEXOR ÓPTICO PARA LA TRANSMISIÓN Y RECEPCIÓN SIMULTÁNEA DE HACES LÁSER

Abstract

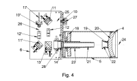
Aparato duplexor óptico para la transmisión y recepción simultánea de haces láser, empleado para simplificar los problemas de alineamiento entre transceptores ópticos distantes, comprendiendo; un tubo reflector catadióptrico (5); un prisma polarizador (13), encargado de; dividir el haz láser transmitido (2SP) en dos haces (2P,2S) polarizados linealmente en planos perpendiculares, dirigiendo únicamente la componente reflejada (2S) al reflector catadióptrico (5); dividir el haz láser recibido (2'SP), procedente del reflector catadióptrico (5), en dos haces (2'P, 2'S) polarizados linealmente en planos perpendiculares, dirigiendo únicamente la componente refractada (2'P) con destino al receptor (52); una lente divergente (14) situada entre el prisma polarizador (13) y el reflector catadióptrico (5) y encargada de; recibir la componente reflejada (2S) del haz láser transmitido (2SP) procedente del prisma polarizador (13) y adaptarla al plano focal del reflector catadióptrico (5); recibir y colimar el haz láser recibido (2'SP) procedente del reflector catadióptrico (5) y dirigirlo al prisma polarizador (13).