APARATO TERMORREGULADOR DE FLUJO SIMÉTRICO PARA DISPOSITIVOS ELECTRÓNICOS CON GEOMETRÍA CILÍNDRICA

  1. Inventors:
  2. FRANCISCO JAVIER RIOS GOMEZ
  3. JORGE ROMERO SANCHEZ
  4. RAQUEL NATIVIDAD FERNANDEZ RAMOS
  5. MARTÍN CANALES, José Franncisco
  6. MARTÍN MARTÍN, Francisco Javier
  1. Universidad de Málaga
    info
    Universidad de Málaga

    Málaga, España

    Geographic location of the organization Universidad de Málaga
WO
Otras Publicaciones:

WO2012089863A1 (05-07-2012)

Solicitudes:

PCT/ES2011/000373 (23-12-2011)

APARATO TERMORREGULADOR DE FLUJO SIMÉTRICO PARA DISPOSITIVOS ELECTRÓNICOS CON GEOMETRÍA CILÍNDRICA

Abstract

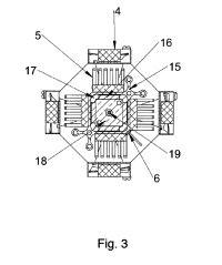
Aparato termorregulador de flujo térmico simétrico para dispositivos electrónicos con geometría cilindrica, comprendiendo: - un dado metálico (18) que alberga al dispositivo electrónico (19); - cuatro celdas peltier (16) que intercambian calor con el dado (18); - un intercambiador térmico que intercambia calor con las celdas peltier (16), comprendiendo un bastidor (15) en contacto con las celdas peltier (16) y cuatro disipadores térmicos (5) adheridos a cada lado externo del bastidor (15); - sensor de temperatura del dado (1 1); - sensor de temperatura del intercambiador térmico (6); - un controlador de las celdas peltier (31 ), para controlar la corriente que circula por las celdas peltier (16) y su sentido de circulación; - medios de procesamiento de datos (30), que recibe las temperaturas del dado (18) y del intercambiador térmico y controla la corriente de las celdas peltier (16) y su sentido de circulación para mantener la temperatura del dado (18) regulada.