EXTRACTOR Y MÉTODO DE EXTRACCIÓN DE CABEZAS DE INSTRUMENTOS DE MEDIDAS HIDROLÓGICAS

  1. Inventors:
  2. SIMONE SAMMARTINO
  3. JESUS MANUEL GARCIA LAFUENTE
  4. BASCUÑANA PAREJA, Juan Antonio
  1. Universidad de Málaga
    info
    Universidad de Málaga

    Málaga, España

    Geographic location of the organization Universidad de Málaga
WO
Otras Publicaciones:

WO2014170509A1 (23-10-2014)

Solicitudes:

PCT/ES2014/000045 (31-03-2014)

EXTRACTOR Y MÉTODO DE EXTRACCIÓN DE CABEZAS DE INSTRUMENTOS DE MEDIDAS HIDROLÓGICAS

Abstract

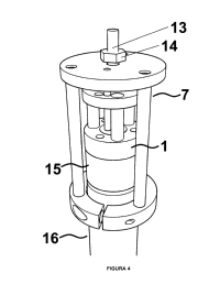
Extractor de cabezas de instrumentos (15, 16) de medidas hidrológicas que permite una extracción óptima, simple y libre de cualquier riesgo, tanto por los usuarios involucrados, como para el propio instrumento. Comprende dos componentes (1, 7), que están unidos mediante un tornillo (13) en el que se enrosca una tuerca (14) y con el que se regula la posición de cada una de ellos y la extracción de la cabeza (15) del instrumento. Se consigue una extracción segura de la cabeza (15) del instrumento sin afectar a los elementos que garantizan la estanqueidad del interior del mismo ni a la seguridad de los operarios que llevan a cabo esta operación.