DISPOSITIVO AMORTIGUADOR PARA VEHÍCULOS

  1. Inventors:
  2. JUAN ANTONIO CABRERA CARRILLO
  3. JUAN JESUS CASTILLO AGUILAR
  4. URGA GÓMEZ, Pedro
  5. ENRIQUE CARABIAS ACOSTA
  6. JAVIER PEREZ FERNANDEZ
  7. MANUEL GONZALO ALCAZAR VARGAS
  8. VELASCO GARCÍA, Juan María
  9. FRANCISCO JOSE RUBIO HERNANDEZ
  1. Universidad de Málaga
    info
    Universidad de Málaga

    Málaga, España

    Geographic location of the organization Universidad de Málaga
WO
Otras Publicaciones:

WO2023203273A1 (26-10-2023)

Solicitudes:

PCT/ES2023/070258 (24-04-2023)

DISPOSITIVO AMORTIGUADOR PARA VEHÍCULOS

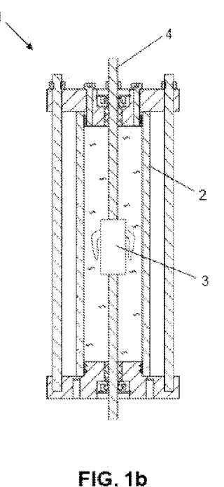
Abstract

La invención describe un dispositivo (1) amortiguador para vehículos que comprende un cilindro (2) con un eje longitudinal (EL) lleno de un fluido no newtoniano tipo "shear-thickening" (STF) a lo largo del cual se desplaza longitudinalmente un émbolo (3). La sección transversal del émbolo (3) es menor que una sección transversal interior del cilindro (2) para permitir el paso del STF a través de un espacio entre dicho émbolo (3) y una pared interior del cilindro (2). Además, el émbolo (3) está configurado de tal manera que la fuerza que el STF opone al movimiento del émbolo (3) en un primer sentido de desplazamiento es diferente de la fuerza que el STF opone al movimiento del émbolo (3) en un segundo sentido de desplazamiento opuesto al primero.